Termostati SA/SB
 
APPLICAZIONI 

Regolazione automatica di caldaie 
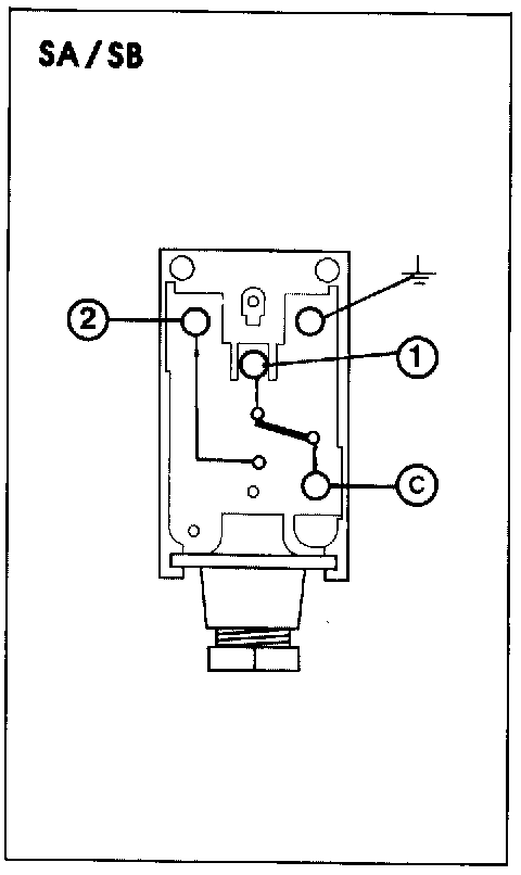
Segnalazione 
Comando di pompe

 

CARATTERISTICHE TECNICHE
Funzionamento a dilatazione di liquido
Membrana in acciaio inox elettrosaldata

Microinterruttore inversore unipolare con contatti bimetallici in argento/ossido di cadmio

Portata contatti:
in circuito ohmico puro: 
16A/24V/127V/250V 50 Hz 
  8A/380V 50Hz 
in circuito induttivo con cosj=0.6 
2.5A/24V/127V/250V 50Hz 
1.3A/380V 50Hz 
Contatti elettrici a vite
Contatti C e 1 - interruzione al salire della temperatura
Contatti C e 2 - interruzione al calare della temperatura

PRESENTAZIONE
Scatola in poliestere caricato con fibra di vetro resistente alle correnti di strisciamente
Temperatura massima al corpo: 60°C
Grado di protezione: IP50
Manopola di regolazione graduata per facilitare la lettura e l'impostazione della temperatura
Uscita cavi attraverso pressacavi, diametro 9 mm
Il coperchio assicura il bloccaggio della manopola di regolazione, la temperatura impostata resta visibile.

Termostato a contatto SA
Basetta in acciaio costuituente la presa di temperatura, sagomata per assicurare una buona trasmissione termica nel montaggio su canalizzazioni d'acqua calda.
Fissaggio molla elicoidale che assicura un contatto costante, fornita con l'apparecchio

Mod. SA0570:    gamma di regolazione +5/+70°C
                            temperatura massima ammessa: 75°C
                            massa: 155g
Mod. SA2590:    gamma di regolazione +25/+90°C
                            temperatura massima ammessa: 95°C
                            massa: 155g

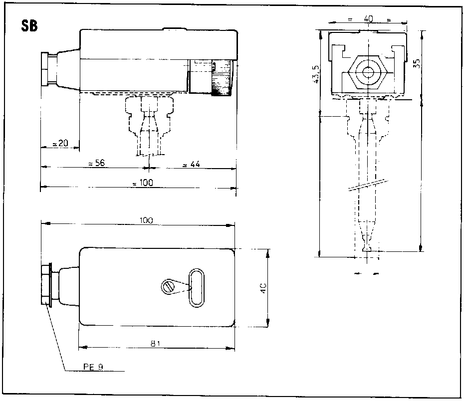
Termostato a immersione SB
Canna diretta di presa temperatura in rame, diametro 8mm
Fissaggio con guaina in ottone, filettata 1/2" gas (15x21) diametro 12mm, fornita con l'apparecchio

Mod. SB2590:   gamma di regolazione +25/+90°C
                          guaina di lunghezza 90mm
                          temperatura massima ammessa: 95°C
                          massa: 225g

 
 QUOTE DI INGOMBRO:

SA
 
SB