Pressostati PL-PR
 
Questi pressostati, di costruzione particolarmente robusta,  trovano la loro applicazione in tutti gli ambiti industriali per il controllo di pressione di aria, acqua o olio. 

APPLICAZIONI 
Pompe 
Compressori 
Generatori di vapore 
Protezione assenza acqua 

CARATTERISTICHE MECCANICHE 
Elemento sensibile costituito da una membrana in acciaio inox. 
Circuito di pressione composto da elementi in acciaio inox, acciaio nickelato e leghe di rame.. 

Microinterruttore unipolare inversore con contatti bimetallici argento/ossido di cadmio 
 

Portata contatti:
in circuito ohmico puro: 
  5A/220V 50Hz 
 
in circuito induttivo con cosj=0.6 
1.5A/250V 50Hz 
 
Connessioni elettriche:
Apertura contatti al salire della pressione: contatti blu e rosso
Apertura contatti al discendere della pressione: contatti blu e giallo
Uscita dei cavi attraverso passacavi da 11 mm

Grado di protezione:
IP 40

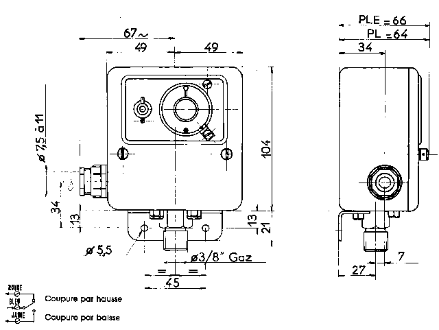
PRESENTAZIONE

PL: scatola in metallo laccatofinitura grigio-blu martellata cotta in forno. Il coperchio della scatola presenta uan finestra trasparente attraverso cui è possibile controllare gli indici di regolazione.
Due manopole di regolazione: la manopola centrale regola la pressione di intervento, quello laterale lo scarto tra apertura e chiusura dei contatti (differenziale). Per tutti i modelli a differenziale regolabile, il valore impostato sulla manopola è relativo all'intervento al decrescere della pressione.
Presa di pressione tramite raccordo filettato 3/8" gas maschio (12x17)
Fissaggio dell'apparecchio tramite staffa situata nella parte inferiore.
Massa: 1 Kg
PR: stesse caratteristiche del PL tranne:
Scatola in ABS grigio con finestra, base in metallo
Massa: 450 g

TABELLA CARATTERISTICHE ARTICOLI

Articolo
Gamma di regolazione (bar)
Differenziale (bar)
Pressione massima ammessa (bar)
PL 10.03 - PR 10.03
0.2-4
0.200-0.650
10
PL 20.03 - PR 20-03
3-12
0.600-1.600
17
PL 30.03 - PR 20-03
5-17
0.600-2.400
25
PL 40.03
0-1200 mbar
25mbar (fisso) 
 
QUOTE DI INGOMBRO:
 
PL PR